JBCS



14:52, sáb out 25

Acesso Aberto/TP



Nota Técnica


Determinação de resíduos de agrotóxicos em leite bovino empregando método QuEChERS modificado e GC-MS/MS
Determination of pesticide residues in bovine milk using a modified QuEChERS method and GC-MS/MS

Danieli Daiani Bandeira; Juliana S. Munaretto; Tiele M. Rizzetti; Giovana Ferronato; Osmar D. Prestes; Manoel L. Martins; Renato Zanella; Martha B. Adaime*

Departamento de Química, Universidade Federal de Santa Maria, 97105-900 Santa Maria - RS, Brasil

Recebido em 19/09/2013
Aceito em 21/01/2014
Publicado na web em 03/04/2014

Endereço para correspondência

*e-mail: martha@ufsm.br

RESUMO

Considering the possibility that pesticides used in cattle raising produce residues in milk and cause harm to public health, this study developed a multiresidue method for determination of pesticide residues in bovine milk, using a modified QuEChERS method for sample preparation, and quantification by GC-MS/MS. The method proved to be efficient, resulting in satisfactory recoveries in the range 71.1 to 117.4%, for 45 of the 48 compounds analyzed with RSD values < 17.3%. The method LOD and LOQ were3.0 and 10.0 µg L-1, respectively, except for cyfluthrin which showed 7.5 and 25.0 µg L-1.

Palavras-chave: pesticides; milk; GC-MS/MS; QuEChERS.

INTRODUÇÃO

A bovinocultura de leite é uma das mais importantes e tradicionais atividades econômicas em nosso país, destacando-se os estados de Minas Gerais, Goiás, Rio Grande do Sul e Paraná como os maiores produtores de leite do Brasil. No período de 2010 a 2011 a produção passou de 30,7 para mais de 32 bilhões de litros/ano1 e, segundo estudos da Leite Brasil, associação brasileira representante dos produtores nacionais, a produção de leite em 2012 alcançou 33,054 bilhões de litros.2 No âmbito mundial o Brasil é um dos maiores produtores de leite, sendo que no ano de 2010 ficou em quinto lugar no ranking.3

Juntamente com o crescimento demográfico, vem também a necessidade de satisfazer a demanda de leite e derivados e, consequentemente, a necessidade de aumentar a produção. A produtividade apresentou um aumento médio de 1340 litros/vaca/ano em 2010 para 1382 em 2011, sendo que o estado com maior produtividade foi o Rio Grande do Sul com 2536 litros/vaca/ano.1 Os ganhos de produtividade advêm, basicamente, da adoção de tecnologias que melhoram a eficiência do uso dos fatores de produção. O melhoramento da genética nos rebanhos leiteiros, a alimentação e a saúde animal tiveram importante participação nesta evolução.4

O uso de agrotóxicos na agricultura tem colaborado com a produção de alimentos em quantidades cada vez maiores. Entretanto, o uso sem critérios técnicos adequados pode causar a ocorrência de resíduos nos alimentos.5

O leite pode sofrer contaminação por agrotóxicos por meio de diferentes fontes: contaminação de pastos, rações e cereais, contaminação do meio ambiente, uso de domissanitários nos currais e estabelecimentos de produção leiteira e uso de produtos veterinários no gado leiteiro.6

Segundo a Autoridade Européia de Segurança Alimentar (European Food Safety Authority, EFSA), o risco potencial que os agrotóxicos oferecem ao homem através da alimentação, devido a uma exposição crônica diária, determinou a exigência de limites máximos de resíduos (LMRs) que consiste na concentração máxima de agrotóxico legalmente aceita no alimento, em decorrência das boas práticas agrícolas.7 Em função disto, vários países possuem programas de monitoramento dos níveis de resíduos de agrotóxicos, a fim de garantir a segurança alimentar e ambiental.8 Com a finalidade de verificar a presença de resíduos de agrotóxicos, medicamentos veterinários, poluentes ambientais e contaminantes inorgânicos em alimentos o Ministério da Agricultura, Pecuária e Abastecimento instituiu pela portaria ministerial nº 51, de 06 de maio de 1986, o Plano Nacional de Controle de Resíduos em Produtos de Origem Animal (PNCRC), a qual foi alterada pela instrução normativa nº 42, de 20 de dezembro de 1999.9

A determinação de resíduos de agrotóxicos em matrizes alimentares é um desafio, principalmente devido às pequenas quantidades de analitos e grandes quantidades de substâncias interferentes que podem ser coextraídas e, na maioria dos casos, afetar os resultados de uma análise.10

A etapa de extração tem como objetivo isolar os analitos de todos os coextrativos (interferentes) presentes na matriz. Devido à semelhança físico-química entre os analitos e os interferentes presentes na matriz este procedimento é bastante complexo. Portanto, especial atenção deve ser dada no desenvolvimento da etapa de limpeza dos extratos provenientes de métodos multirresíduo.11

A extração de resíduos de agrotóxicos pode ser realizada por partição líquido-líquido.12 No entanto, tem-se observado avanços no processo de preparo da amostra para minimizar a produção de resíduos perigosos, o tempo e o trabalho empregado e reduzir o custo por amostra.13 Atualmente, várias técnicas têm sido utilizadas para a extração de agrotóxicos do leite, tais como: extração em fase sólida (SPE, do inglês solid phase extraction),14 microextração em fase sólida no headspace (HS-SPME, do inglês headspace solid phase microextraction),15 microextração em fase sólida (SPME, do inglês solid phase microextraction),16 dispersão da matriz em fase sólida (MSPD, do inglês matrix solid phase dispersion)17 e QuEChERS (rápido, fácil, econômico, robusto e seguro, do inglês Quick, Easy, Cheap, Rugged and Safe).18

Com a intenção de superar as limitações dos métodos multirresíduos, Anastassiades et al.19 introduziram o método QuEChERS, para a extração de resíduos de agrotóxicos em matrizes de frutas e legumes. O método baseia-se na extração com acetonitrila seguida de uma etapa de partição obtida com a adição de sulfato de magnésio anidro. Para a limpeza do extrato os autores utilizaram a extração em fase sólida dispersiva (D-SPE do inglês dispersive solid phase extraction).

Os excelentes resultados obtidos com o método QuEChERS gerou o interesse de Lehotay et al.20 em aplicá-lo para a determinação de resíduos de agrotóxicos em alimentos com até 20% de gordura (leite, ovos e abacate). Prestes et al.11,21 publicaram revisões sobre a utilização do método QuEChERS para o preparo de amostras na determinação multirresíduo de agrotóxicos em alimentos, inclusive leite.

Na análise de resíduos e contaminantes o sorvente C18 é normalmente utilizado na remoção de interferentes apolares, como lipídeos.10 A utilização de C18 na etapa de limpeza do método QuEChERS tem sido demonstrada com sucesso no preparo de amostras contendo teores de gordura > 2% como, por exemplo, arroz,22 peixe,23 trigo,24 leite,18 entre outras. PSA é um sorvente de troca aniônica fraco, com a habilidade em remover ácidos graxos, açúcares, alguns pigmentos e outros coextrativos da matriz que formam ligações de hidrogênio.25

A precipitação a baixa temperatura (PBT) tem sido utilizada para remover gorduras coextraídas de amostras, como por exemplo, leite,26 manteiga27 e peixe.28 Segundo Chung e Chen,29 gorduras, principalmente lipídeos, têm pontos de fusão mais baixos do que o solvente, de modo que os lipídeos congelados podem ser removidos por centrifugação, enquanto que os agrotóxicos permanecem dissolvidos no solvente. A solubilidade dos lipídeos em solvente orgânico depende do produto de solubilidade e da temperatura. Portanto, a precipitação a baixa temperatura (PBT) pode remover quantidades significativas destes compostos, mas certa quantidade pode permanecer no solvente após o congelamento/centrifugação, sendo necessária outra etapa de limpeza.29

Com o desenvolvimento de métodos de extração multirresíduos e utilizando cromatografia gasosa acoplada à espectrometria de massas (GC-MS), a determinação de resíduos de agrotóxicos de diferentes classes pode ser efetuada com um único instrumento em uma única corrida cromatográfica, através da escolha dos íons que se quer monitorar evitando a interferência de materiais coextraídos da amostra.30 O emprego da cromatografia gasosa acoplada à espectrometria de massas em série (GC-MS/MS, do inglês gas chromatography with tandem mass spectrometry) possibilita um grande aumento de seletividade e da detectabilidade.31

Na varredura de monitoramento do íon selecionado (SRM do inglês, selected reaction monitoring) monitora-se a fragmentação de um íon precursor selecionado no Q1 e seus correspondentes íons produtos que são filtrados em Q3. A ausência da varredura permite que o equipamento focalize apenas o precursor e o produto, aumentando a sensibilidade para o monitoramento, que é associado a um aumento na seletividade.32,33 O uso da cromatografia acoplada à espectrometria de massas em série, em especial operando no modo SRM, é de grande importância para a análise de compostos presentes em nível de traços em matrizes muito contaminadas, complexas e/ou com muitas interferências, como é o caso da matriz leite. Isso ocorre devido à redução na probabilidade de interferências espectrais permitindo a identificação através do monitoramento de duas (ou três) transições: uma para a quantificação e a outra para a confirmação do analito em questão.33,34 A Diretiva (2002/657/EC)35 ainda descreve que para instrumentos LC-MS/MS e GC-MS/MS deve-se monitorar duas transições, a partir do mesmo íon precursor; ou ainda de dois íons precursores e um produto para cada precursor.

Considerando toda a problemática envolvendo as inúmeras substâncias químicas utilizadas com finalidades diversas na agropecuária, e a possibilidade destas chegarem até o leite e causarem danos à saúde da população, os objetivos deste trabalho foram: desenvolver e validar um método multirresíduo para a determinação de resíduos de agrotóxicos em leite bovino, empregando método QuEChERS modificado para o preparo de amostra e quantificação por GC-MS/MS triploquadrupolo, bem como demonstrar a aplicabilidade do método desenvolvido na determinação de resíduos de agrotóxicos em amostras de leite bovino.

 

PARTE EXPERIMENTAL

Materiais, reagentes e padrões

Tubos de polipropileno com tampa de rosquear, capacidade de 15 e 50 mL; tubos eppendorf de 2 mL; frascos de vidro (vial) com capacidade de 2 mL; insert de vidro de 150 µL; filtro de nylon para seringa (13 mm, 0,2 µm); gelo seco; extran® neutro (Merck, Brasil). Acetonitrila (MeCN) grau HPLC; sulfato de magnésio anidro (MgSO4) (J. T. Baker); acetato de sódio anidro (CH3COONa); ácido acético glacial (CH3COOH) grau HPLC; sorventes amina primária secundária (PSA) 40 µm e octadecilsilano (C18) 40 µm (Agilent Technologies, EUA).

Os 48 agrotóxicos analisados estão apresentados na Tabela 1. Como padrão interno (PI) foi utilizado quintozeno e trifenilfosfato e como padrão de substituição (PS) foi utilizado trifluralina-d14. Todos os padrões foram adquiridos da firma Dr. Ehrenstorfer (Alemanha).

 

 

Preparou-se individualmente 10 mL de solução estoque aproximadamente 1000 mg L-1 de cada agrotóxico em MeCN considerando a pureza dos padrões sólidos e as soluções estoque foram armazenadas em frascos âmbar a -18 ºC. Após, foram preparadas soluções analíticas individuais dos compostos em estudo na concentração de 100,0 mg L-1, em MeCN. A partir destas soluções preparou-se uma mistura na concentração 10,0 mg L-1, em MeCN, contendo todos os compostos e por diluição, preparou-se uma mistura na concentração 1,0 mg L-1. O padrão de substituição e os padrões internos, foram preparados separadamente na concentração de 10,0 mg L-1.

Neste trabalho, a fim de minimizar as fontes de erros durante o preparo das amostras, o padrão de substituição modificado isotopicamente (trifluralina-d14) foi adicionado em todas as amostras na concentração de 50 µg L-1 antes do procedimento de extração, para detectar possíveis erros durante esta etapa.

Instrumentação

Sistema GC-MS/MS triploquadrupolo (Varian, EUA) equipado com cromatógrafo a gás CP 3800; amostrador automático CP 8400; injetor 1079 (PTV, programmable temperature vaporizer), com insersor de vidro silanizado, d.i. de 3,4 mm, contendo cerca de 0,5 cm de CarboFrit®; coluna capilar CP VF-5-MS (5% fenil 95% dimetilpolisiloxano), 30 m de comprimento, 0,25 mm de d.i. e 0,25 µm de espessura de filme; detector MS triploquadrupolo 1200, atuando no modo de monitoramento de reações selecionadas e sistema de aquisição de dados através do software MS Workstation 6.4.

Centrífuga refrigerada NT 825 (Nova Técnica, Brasil); centrífuga refrigerada SL 703 (SOLAB, Brasil); purificador de água Milli-Q Direct 3UV (Millipore, França) e agitador vórtex QL-901 (Biomixer, Brasil).

Procedimento experimental

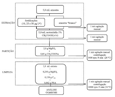
O procedimento de extração utilizado neste estudo consistiu de 5 mL de amostra em tubos de 50 mL, extraída com 5 mL de MeCN acidificada com 1% (v/v) de CH3COOH, seguida de agitação manual vigorosa por 1 min. Para a etapa de partição foram adicionados 2,0 g de MgSO4 e 0,85 g de CH3COONa, seguida de agitação manual por 1 min e posterior centrifugação a 3400 rpm por 8 min à 20 ºC. Para a otimização do procedimento de extração e limpeza utilizou-se uma amostra de leite, isenta de agrotóxicos, e fortificada apenas no nível de 50,0 µg L-1. Após a definição do melhor procedimento de extração, os ensaios foram realizados nos três níveis de validação propostos, sendo as extrações iniciadas 30 min após a fortificação.

Testes preliminares de limpeza foram efetuados com diferentes combinações de sorventes, visando uma melhor eficiência na etapa de limpeza empregando a técnica de D-SPE. Estipulou-se como parâmetro ideal percentuais de recuperação entre 70 e 120% e valores de RSD < 20%.36 Os testes da etapa da limpeza dispersiva consistiram em diferentes combinações de MgSO4, C18, PSA e precipitação a baixa temperatura, seguidas de agitação e posterior centrifugação em tubos eppendorf de 2 mL a 10000 rpm por 3 min à temperatura de 10 ºC.

As seguintes possibilidades foram avaliadas: teste 1) 1 mL de extrato + 150 mg MgSO4 + 125 mg C18; teste 2) 1 mL de extrato + 150 mg MgSO4 + 125 mg C18 + 62 mg de PSA; teste 3) 1 mL de extrato + 150 mg MgSO4 + 125 mg C18 + 62 mg de PSA + PBT e teste 4) 1 mL de extrato + 150 mg MgSO4 + 125 mg C18 + PBT.

Validação

A validação é o processo realizado para verificar se o método utilizado é adequado para a finalidade pretendida.36 O método QuEChERS modificado foi validado avaliando-se os seguintes parâmetros: linearidade através da curva analítica, limite de detecção (LOD), limite de quantificação (LOQ), exatidão (recuperação), precisão (repetibilidade e precisão intermediária) e efeito matriz.

Empregando o método dos mínimos quadrados obteve-se a regressão linear para avaliar a linearidade das curvas analíticas, as quais foram preparadas no solvente (MeCN) e no extrato branco de leite UHT integral. Para cada analito a faixa de concentração avaliada foi de 1 a 200 µg L-1. A partir da avaliação dos dados de linearidade das curvas analíticas, procedeu-se à determinação da estimativa do LOD e LOQ. O LOQ do instrumento (LOQi) para cada analito foi estimado a partir da relação sinal/ruído calculada pelo software do equipamento, considerando no mínimo dez vezes a razão do sinal pela linha de base (ruído). O LOQ do método (LOQm) foi obtido através dos ensaios de fortificação, no qual o menor nível de fortificação com recuperação na faixa de 70 a 120% foi selecionado como o LOQ do método. Para avaliar a veracidade do método, foram utilizados ensaios de fortificação, avaliando-se, dessa maneira, a recuperação dos compostos em estudo. Foram realizadas seis fortificações das amostras "branco" em três níveis diferentes de concentração (10,0; 25,0 e 50,0 µg L-1), totalizando 18 análises. Os níveis de fortificação foram escolhidos levando em consideração os limites máximos de resíduos (LMR) estabelecidos pela legislação nacional.37 A precisão do método, em termos de repetibilidade e da precisão intermediária, foi avaliada em função do desvio padrão relativo (RSD) dos resultados de recuperação. As agências que regulamentam a validação de métodos cromatográficos visando à análise de resíduos de agrotóxicos em alimentos indicam que os intervalos de recuperação aceitáveis devem estar na faixa entre 70 e 120%, com precisão de até ± 20%.36

Durante as análises cromatográficas os componentes da matriz contidos nos extratos podem influenciar na quantificação dos analitos, gerando resultados duvidosos. Esse fenômeno é denominado efeito matriz.38 O efeito matriz pode ser observado pela significante diferença de resposta obtida em padrões preparados no solvente daqueles preparados no extrato da matriz. Para compensar este efeito emprega-se, geralmente, a quantificação frente a curvas analíticas obtidas a partir de soluções analíticas preparadas no extrato "branco" da matriz.39

 

RESULTADOS E DISCUSSÃO

Análise cromatográfica

As condições empregadas no sistema GC-MS/MS foram: injetor PTV (100 a 280 ºC), temperatura do forno da coluna de 50 à 65 ºC com rampa de aquecimento de 10 ºC min-1; 65 à 180 ºC com rampa de aquecimento de 25 ºC min-1 e 180 à 280 ºC com rampa de aquecimento de 5 ºC min-1. A vazão do gás de arraste (He com grau de pureza 99,9999%) de 1,0 mL min-1, o volume do extrato injetado foi de 2 µL sem divisão de fluxo. O modo de aquisição do MS foi SRM com ionização por impacto eletrônico (EI) a 70 eV, temperatura da linha de transferência, da fonte de ionização e do manifold foram 250, 210 e 40 ºC respectivamente. As condições cromatográficas otimizadas permitiram a análise simultânea dos 48 analitos em 30 min.

Otimizou-se o espectrômetro de massas no modo SRM, os íons selecionados para a quantificação e confirmação estão apresentados na Tabela 1. A transição que gerou sinal mais intenso foi utilizada para quantificação e a menos intensa para confirmação. O método cromatográfico permitiu a análise simultânea de 12 diferentes classes de agrotóxicos entre estas: organoclorado, organofosforado, metoxicrilato, triazól, ciclodieno, fosfotiazól, piretróide, dicarboximida, carbamato, cloronitrofenil, dinitroanilina e clorodifenilsulfona.

A Figura 1 representa (a) cromatograma de íons totais40 da solução analítica 25 µg L-1 preparada no extrato "branco" da matriz contendo os 48 compostos avaliados neste estudo. Em (b) observa-se a alta especificidade do modo de aquisição SRM empregado no MS/MS, destacando os picos obtidos nas duas transições.

 


Figura 1. Representa em (a) cromatograma de íons totais da solução analítica 25 μg L-1 preparada no extrato "branco" da matriz contendo os 48 compostos avaliados neste estudo. Em (b) observa-se a alta especificidade do modo de aquisição SRM empregado no MS/MS, destacando os picos obtidos nas duas transições

 

Otimização do método QuEChERS

Com os testes 1 e 2, 93,7% dos compostos avaliados apresentaram percentuais de recuperação entre 70 e 120% (RSD < 20%). Entretanto, o teste 2 apresentou maior eficiência na etapa de limpeza e foi escolhido em relação ao teste 1.

Os testes 3 e 4 fazem referência ao procedimento de limpeza com precipitação a baixa temperatura (PBT). Estes apresentaram recuperação superiores a 70% para uma menor quantidade de compostos (teste 3 para 77,1% dos compostos e teste 4 para 83,3% dos compostos). Segundo estudos prévios41 é necessária a agitação dos extratos durante a etapa de precipitação a baixa temperatura com banho de gelo seco, para prevenir a oclusão de compostos solúveis na matriz lipofílica durante a rápida etapa de precipitação. Este procedimento de agitação não foi realizado durante o desenvolvimento deste trabalho, e isto pode ter contribuído para redução no número de compostos com recuperações superiores a 70% nos testes realizados com precipitação a baixa temperatura.

A partir dos testes preliminares, selecionou-se o teste 2, que utiliza na etapa de limpeza por D-SPE os sorventes C18 e PSA em combinação com MgSO4 anidro. Esta combinação de sorventes também foi aplicada com sucesso na determinação de agrotóxicos em carne e gordura bovina por GC-MS. Os percentuais de recuperação obtidos para os agrotóxicos em carne e gordura bovina em diferentes concentrações variaram de 70 a 129%, RSD < 27%.42

A Figura 2 ilustra as condições do procedimento de extração e limpeza otimizadas neste estudo. Após a otimização do método QuEChERS, realizou-se a etapa de validação do método, utilizando o sistema cromatográfico GC-MS/MS.

 


Figura 2. Esquema do procedimento de extração e limpeza

 

Validação do método

Curva analítica, faixa de trabalho e efeito matriz

Soluções preparadas em MeCN e no extrato "branco" da matriz, nas concentrações de 1,0; 2,0; 5,0; 10,0; 25,0; 50,0; 75,0; 100,0; 150,0 e 200,0 µg L-1 foram injetadas no sistema GC-MS/MS. As áreas dos picos foram integradas e um gráfico foi construído (área versus concentração). Os dados foram submetidos à regressão linear por método dos mínimos quadrados ordinários. A qualidade do ajuste linear foi verificada através do coeficiente de determinação.

A partir dos resultados das equações das retas obtidas, pode-se concluir que o modelo linear é satisfatório segundo a literatura,43 pois todos os compostos apresentaram coeficientes de determinação (r2) maiores que 0,99. Este comportamento linear foi observado para todos os compostos entre o LOQ e 200 µg L-1.

A intensidade do efeito matriz para dado agrotóxico é influenciada pela natureza da amostra e pelo tipo de coextrativos (tamanho das moléculas, polaridade, estabilidade térmica, volatilidade, etc.).44 Para a avaliação da existência de efeito matriz (EF), duas séries de soluções padrão foram preparadas, sendo uma no solvente puro (acetonitrila) e a outra no extrato da matriz. A contribuição do efeito matriz foi avaliada por comparação entre as inclinações das curvas obtidas empregando-se soluções analíticas em acetonitrila e aquelas obtidas com soluções analíticas preparadas no extrato "branco" da matriz, conforme a fórmula EF(%) = [(inclinação da curva na matriz - inclinação da curva no solvente)/inclinação da curva no solvente]×100.45

Observa-se na Tabela 2, que a maioria dos compostos analisados apresentaram efeito matriz. Pinho et al.44 explicam esta diferença de sinal analítico em função da disponibilidade dos sítios ativos do sistema cromatográfico. Quando padrões analíticos são preparados em solvente puro e analisados por GC, os sítios ativos do insersor estão disponíveis para a retenção dos analitos e, assim, menor quantidade é transferida para a coluna e, consequentemente, detectada. Na análise dos padrões analíticos preparados no extrato da matriz ocorre uma competição entre os componentes da matriz e os analitos pelos sítios ativos do insersor. Essa competição entre os compostos pelos sítios ativos possibilita que maior quantidade de agrotóxico seja transferida para a coluna cromatográfica. Assim, as curvas analíticas das soluções preparadas no extrato "branco" da matriz apresentam, em geral, um coeficiente angular maior quando comparadas com aquelas preparadas em solvente. Devido à constatação da ocorrência de efeito matriz, as soluções analíticas deste trabalho foram preparadas em extrato "branco" da matriz.

 

 

Limite de detecção e de quantificação do instrumento e do método

Para um grande número de analitos os valores de LODi e LOQi variaram entre 0,3 e 1,5 µg L-1 e 1,0 e 5,0 µg L-1, respectivamente. O agrotóxico ciflutrina apresentou valores mais elevados de LODi (3,3 µg L-1) e LOQi (10,0 µg L-1). Os valores de LODm e LOQm foram avaliados em função dos resultados obtidos a partir dos ensaios da exatidão e precisão. O LOQm foi definido como o menor nível de fortificação que apresentou valores de recuperação entre 70 e 120% e RSDr < 20%.36 A partir dos resultados apresentados na Tabela 2 observa-se que a maioria dos compostos avaliados neste estudo apresentaram o nível de 10,0 µg L-1 como LOQm e 3,3 µg L-1 LODm. A ciflutrina apresentou valores mais elevados de LOQm (25,0 µg L-1) e LODm (8,3 µg L-1).

Comparando os dados obtidos neste trabalho com os obtidos por Bastos et al.,46 11 compostos em comum foram analisados e apresentaram resultados semelhantes empregando também método QuEChERS acetato, mas com etapa de limpeza dispersiva utilizando MgSO4, PSA e alumina ao invés de C18, utilizado neste trabalho. Em relação aos LOQs obtidos, quando comparados ao trabalho proposto, apresentam valores menores, porém foram obtidos levando em consideração o sinal/ruído (S/R) do equipamento e não os resultados obtidos no primeiro nível de fortificação.

Brondi et al.47 analisaram resíduos de clorpirifós e cipermetrina entre outros em leite de búfala utilizando método QuEChERS (com relação 1:2 entre a amostra e o extrator) e etapa de limpeza dispersiva seguida de PBT para a quantificação dos analitos por GC-MS. Os ensaios de fortificação foram realizados nas concentrações de 100, 200 e 500 µg kg-1 e apresentaram percentuais de recuperação similares aos apresentados neste trabalho, embora no trabalho proposto os níveis de fortificação foram uma ordem de grandeza mais baixos. Os LOQs foram de 10 µg kg-1 para clorpirifós e 25 µg kg-1 para cipermetrina, similares aos obtidos pelo método proposto neste trabalho.

Exatidão do método

Na Tabela 2 observa-se os resultados satisfatórios obtidos para os três níveis de fortificação avaliados. As recuperações ficaram na faixa de 70 a 120%, com RSD < 20% para a maioria dos compostos. Os compostos aldrin, hexaclorobenzeno e mirex apresentaram valores de recuperação inferiores a 70%. A ciflutrina não apresentou sinal suficiente para a quantificação no nível de fortificação 10 µg L-1, portanto não pode ser quantificada neste nível. Hexaclorobenzeno e aldrin não foram satisfatoriamente recuperados pelo método desenvolvido, diferentemente do descrito em trabalhos que utilizaram na extração acetona/n-hexano,28 éter de petróleo/acetona17 ou acetato de etil/ciclohexano.48 Isto pode ser explicado pelo fato dos lipídeos não serem muito solúveis em acetonitrila/água, sendo que as gorduras geralmente formam uma película oleosa sobre a superfície destes solventes, ou uma emulsão durante a extração.20 Portanto, parte dos agrotóxicos lipofílicos permanecem dissolvidos na gordura durante a partição, o que resulta em menor recuperação no extrato de MeCN. No trabalho desenvolvido por Lehotay et al. que realizou a extração utilizando método QuEChERS acetato, o hexaclorobenzeno também apresentou recuperações inferiores a 70% para amostras de leite.20

Precisão em termos de repetibilidade e precisão intermediária

Neste estudo a precisão do sistema GC-MS/MS foi avaliada a partir de injeções sucessivas de solução analítica padrão preparada na concentração de 25 µg L-1 (n=6). Os valores de RSD referentes às áreas de todas as injeções ficaram abaixo de 20%. A precisão do método foi avaliada em função da repetibilidade e da precisão intermediária (RSDpi), estimadas de acordo com as recomendações da legislação.36 Os valores de repetibilidade e precisão intermediária são apresentados, juntamente com os resultados de recuperação, na Tabela 2.

A repetibilidade, avaliada através do desvio padrão relativo (RSD%), foi considerada satisfatória (n=6), pois todos os compostos apresentaram RSD inferior a 20%, nos níveis de fortificação de 10,0; 25,0 e 50,0 µg L-1. Os agrotóxicos aldrin, hexaclorobenzeno e mirex, que apresentaram recuperações inferiores a 70%, apresentaram RSDs inferiores a 10%, exceto aldrin que no nível de fortificação 50,0 µg L-1 apresentou RSD de 13,2%. A avaliação da precisão intermediária (RSDpi) foi realizada empregando-se dias diferentes daqueles dos estudos da repetibilidade. O RSDpi para a precisão intermediária foi avaliada somente para o nível de fortificação de 25 µg L-1 e os valores obtidos variaram entre 4,9 e 16,1%.

Aplicação do método

O método desenvolvido foi aplicado para a determinação multirresíduo de 45 agrotóxicos em quatro amostras de leite bovino do tipo UHT integral, comercializadas no município de Santa Maria, RS. As amostras de leite foram preparadas conforme o método validado, sendo que nenhuma das amostras analisadas apresentou resíduos de agrotóxicos.

Resíduos de compostos organoclorados como hexaclorobenzeno, DDT, bifenilas policloradas (PCBs), aldrin e lindano já foram encontrados em amostras de leite.49,50 Os compostos organoclorados são lipofílicos e difíceis de serem metabolizados, por isso a exposição de organismos vivos a estes compostos proporciona a acumulação e a persistência destes nos tecidos adiposos.51 Sendo assim, compostos orgânicos persistentes concentram-se na gordura do leite52 e sua presença em produtos lácteos pode refletir a contaminação ambiental da região e pode ser de grande valor para o conhecimento científico e para a saúde pública.50

 

CONCLUSÕES

A partir dos resultados obtidos neste trabalho pode-se concluir que o método de extração QuEChERS modificado aliado a etapa de limpeza do extrato por D-SPE e a determinação por GC-MS/MS triploquadrupolo é eficiente, permitindo a determinação simultânea de 45 resíduos de agrotóxicos em leite. O método apresentou recuperações satisfatórias na faixa entre 70 e 117,4% para 45 compostos avaliados, com valores de RSD < 17,3%. Para a maioria dos agrotóxicos estudados, o método apresentou baixos limites de detecção e quantificação, possibilitando o emprego em programas de monitoramento. Dos 37 agrotóxicos monitorados pelo PNCRC 2011,53 24 foram contemplados no método desenvolvido, sendo que aldrin, hexaclorobenzeno e mirex não puderam ser quantificados, pois apresentaram recuperações inferiores a 70% e ciflutrina, dieldrin, endrin, HCH-alfa, lindano e heptacloro apresentaram valores de LOQ do método maiores que os limites máximos permitidos (LMRs) pela legislação brasileira. Observou-se que os componentes da matriz exercem efeito significativo no aumento do sinal analítico. A utilização de soluções analíticas em extrato "branco" da matriz compensou este efeito. Depois de validado, o método foi aplicado na determinação de resíduos de agrotóxicos em amostras de leite UHT, sendo que nenhuma amostra apresentou contaminação por resíduos dos agrotóxicos analisados.

 

REFERÊNCIAS

1. Instituto Brasileiro de Geografia e Estatística (IBGE); Produção da Pecuária Municipal 2011, 39.

2. http://sis.sebrae-sc.com.br/sis/setor/noticias/visualizar;jsessionid=C62E8654807CF270F4D78461C719832C?idNoticia=14539, acessada em Março 2014.

3. http://www.cnpgl.embrapa.br/nova/informacoes/estatisticas/producao/tabela0212.php, acessada em Março 2014.

4. http://sistemasdeproducao.cnptia.embrapa.br/FontesHTML/Leite/BovinoLeiteRegiaoSudoesteRioGrandeSul /importancia.htm, acessada em Março 2014.

5. Pang, G.; Cao, Y.; Zhang, J.; Fan, C.; Liu, Y.; Li, X.; Jia, G.; Li, Z.; Shi, Y.; Wu, Y.; Guo, T.; J. Chromatogr. A 2006, 1125, 1.

6. Kan, C. A.; Meijer, G. A. L.; Anim. Feed Sci. Technol. 2007, 133, 84.

7. http://www.efsa.europa.eu/en/pesticides/mrls.htm, acessada em Março 2014.

8. Stepán, R.; Tichá, J.; Hajslová, J.; Kovalczuk, T.; Kocourek, V.; Food Addit. Contam. 2005, 22, 1231.

9. Ministério da Agricultura, Pecuária e Abastecimento (MAPA); Plano Nacional de Controle de Resíduos em Produtos de Origem Animal, Instrução Normativa nº 42 de 20 de dezembro de 1999.

10. Wilkowska, A.; Biziuk, M.; Food Chem. 2011, 125, 803.

11. Prestes, O. D.; Friggi, C. A.; Adaime, M. B.; Zanella, R.; Quim. Nova 2009, 32, 1620.

12. Pagliuca, G.; Gazzotti, T.; Zironi, E.; Sticca, P.; J. Chromatogr A 2005, 1071, 67.

13. Ridgway K.; Lalljie S. P. D.; Smith R. M.; J. Chromatogr A 2007, 1153, 36.

14. Bogialli, S.; Curini, R.; Corcia, A. Di; Laganà, A.; Stabile, A.; Sturchio, E.; J. Chromatogr. A 2006, 1102, 1.

15. Rodrigues, F. de M.; Mesquita, P. R. R.; Oliveira, L. S. de; Oliveira F. S. de; Menezes, A. F.; Pereira, P. A. de P.; Andrade, J. B. de; Microchem. J. 2011, 98, 56.

16. Fernandez-Alvarez, M.; Llompart, M.; Lamas, J. P.; Lores, M.; Garcia-Jare, C.; Cela, R.; Dagnac, T.; Anal. Chim. Acta 2008, 617, 37.

17. Yagüe, C.; Bayarri, S.; Lázaro, R.; Conchello, P.; Ariño, A.; Herrera, A.; J. AOAC Int. 2001, 84, 1561.

18. Prestes, O. P.; Tese de Doutorado, Universidade Federal de Santa Maria, Brasil, 2011.

19. Anastassiades, M.; Lehotay, S.; Stajnbaher, D.; Schenck, F. J.; J. AOAC Int. 2003, 86, 412.

20. Lehotay, S. J.; Mastovská, K.; Yun, S.J.; J. AOAC Int. 2005, 88, 630.

21. Prestes, O. D.; Adaime, M. B.; Zanella, R.; Scientia Chromatographica 2011, 3, 51.

22. Peixoto, S. C.; Tese de Doutorado, Universidade Federal de Santa Maria, Brasil, 2010.

23. Munaretto, J. S.; Ferronato, G; Ribeiro, L. C.; Martins, M. L.; Adaime, M. B.; Zanella, R.; Talanta. 2013, 116, 827.

24. Kolberg, D. I.; Prestes, O. D.; Adaime, M. B.; Zanella, R.; Food Chem. 2011, 125, 1436.

25. Mastovská, K.; Lehotay, S. J.; J. Chromatogr. A 2004, 1040, 259.

26. Goulart, S. M.; Queiroz, M. E. L. R. de; Neves, A. A.; Queiroz, J.H. de; Talanta 2008, 75, 1320.

27. Marthe, D. B.; Bittencourt, L. M.; Queiroz, M. E. L. R.; Neves, A. A.; Quim. Nova 2010, 33, 1389.

28. Hong, J.; Kim, H.; Kim, D.; Seo, J.; Kim, K.; J. Chromatogr. A 2004, 1038, 27.

29. Chung, S. W. C.; Chen, B. L. S.; J. Chromatogr. A 2011, 1218, 5555.

30. Alder, L.; Greulich, K.; Kempe, G.; Vieth, B.; Mass Spectrom. Rev. 2006, 25, 838.

31. Coscollà, C.; Castillo, M.; Pastor, A.; Yusà, V.; Anal. Chim. Acta 2011, 693, 72.

32. Chiaradia, M. C.; Collins, C. H.; Jardim, I. C. S. F.; Quim. Nova 2008, 31, 623.

33. Stashenko, E. E.; Martinez, J. R.; Scientia Chromatographica 2010, 2, 25.

34. Soler, C.; Picó, Y.; Trends Anal. Chem. 2007, 26, 103.

35. http://eur-lex.europa.eu/LexUriServ/LexUriServ.do?uri=OJ:L:2002:221:0008:0036:PT:PDF, acessada em Março 2014.

36. SANCO, EUROPEAN COMISSION. Method validation and quality control procedures for pesticide residues analysis in food and feed. Document Nº. SANCO/12495/2011, 2011.

37. Ministério da Agricultura, Pecuária e Abastecimento (MAPA); Programas de Controle de Resíduos e Contaminantes em Carnes (Bovina, Aves, Suína e Equina), Leite, Mel, Ovos e Pescado para o exercício de 2010, Instrução Normativa nº 08 de 29 de abril de 2010.

38. Hajslová, J.; Holadová, K.; Kocourek, V.; Poustka, J.; Godula, M.; Cuhra, P.; Kempný, M.; J. Chromatogr. A 1998, 800, 283.

39. LeDoux, M.; J. Chromatogr. A 2011, 1218, 1021.

40. Vessecchi, R.; Lopes, N. P.; Gozzo, F. C.; Dörr, F. A.; Murgu, M.; Lebre, D. T.; Abreu, R.; Bustillos, O. V.; Riveros, J. M.; Quim. Nova 2011, 34, 1875.

41. McLeod, H. A.; Wales, P. J.; J. Agric. Food Chem. 1972, 20, 624.

42. Sartarelli, N. C.; Macedo, A. N. de; Sousa, J. P. de; Nogueira, A. R. de A.; Brondi, S. H. G.; J. Liq. Chromatogr. Relat. Technol. 2012, 35, 1895.

43. Agência Nacional de Vigilância Sanitária (ANVISA); Guia para validação de métodos analíticos e bioanalíticos, Resolução - RE nº 899, de 29 de maio de 2003.

44. Pinho, G. P.; Neves, A. A.; Queiroz, M. E. L. R.; Silvério, F. O.; Quim. Nova, 2009, 32, 987.

45. Kwon, H.; Lehotay, S.J.;Geis-Asteggiante, L. J. Chromatogr. A 2012, 1270, 235.

46. Bastos, L. H. P.; Gouvêa, A. V.; Málaga, F.; Cardoso, M. H. W. M.; Jacob, S. C.; Nóbrega, A. W.; Quim. Nova. 2012, 35, 1657.

47. Brondi, S. H. G.; Souza, G. B.; Nogueira, A. R. A., Camargo, L. A.; Majaron, R. F.; Quim. Nova. 2013, 36, 153.

48. Tsiplakou, E.; Anagnostopoulos C. J.; Liapis, K.; Haroutounian, S. A.; Zervas, G.; Chemosphere 2010, 80, 504.

49. Abou Donia, M. A.; Abou-Arab, A. A. K.; Enb, A.; El-Senaity, M. H.; Abd-Rabou, N. S.; Global Veterinaria 2010, 4, 06.

50. Heck, M.C.; Santos, I. S. dos; Bogusz Junior, S.; Costabeber, I.; Emanuelli, T.; Food Chem. 2007, 102, 288.

51. Falandysz, J.; Wyrzykowska, B.; Warzocha, J.; Barska, I.; Garbacik- Wesolowska, A.; Szefer, P.; Food Chem. 2004, 87, 17.

52. Losada, A.; Fernández, N.; Diez, M. J.; Terán, M. T.; García, J. J.; Sierra, M.; Sci. Total Environ. 1996, 181, 133.

53. Ministério da Agricultura, Pecuária e Abastecimento (MAPA); Plano Nacional de Controle de Resíduos em Produtos de Origem Animal, Instrução Normativa nº 24 de 9 de agosto de 2011.

On-line version ISSN 1678-7064 Printed version ISSN 0100-4042
Qu�mica Nova
Publica��es da Sociedade Brasileira de Qu�mica
Caixa Postal: 26037 05513-970 S�o Paulo - SP
Tel/Fax: +55.11.3032.2299/+55.11.3814.3602
Free access

GN1